法拉利新专利公布:未来车型或将配备侧出式排气管
更新时间:2025-10-22 14:54:38 •阅读 0
近日,法拉利提交了一项关于侧排气管系统的全新专利,旨在解决这一经典设计长期以来存在的重量、空气动力学及安全性问题,预示着这一高调而罕见的设计可能在未来车型中回归。

法拉利汽车
侧排气管系统因独特的造型备受车迷追捧,但其应用却十分有限。这类设计往往带来重量增加、空气动力学效能降低等难题,迫使大多数汽车制造商望而却步。然而,法拉利在最新专利文件中声称,其新系统“克服了传统侧排系统的缺陷”,并且“制造简便、成本经济”。

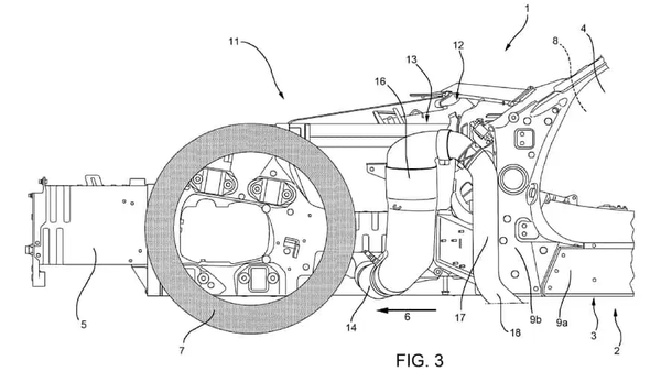
根据专利设计图,排气系统从前轮后方的发动机出发,绕过特定构件,延伸至前门底部,最终在乘客舱后方排出。这一布局能够提升碰撞安全,系统能够在发生前部碰撞时吸收部分动能,有效抑制前轮向乘客舱挤压,增强了对乘员的保护。并且还能实现结构减重,排气管路本身充当了结构件,省去了额外的缓冲支架或重型支撑框架,从而实现了轻量化目标。

这并非法拉利首次探索侧排气管技术。早在2013年,该公司就曾为单边侧排系统申请过专利。此次的新方案则回归了更为经典的双边对称布局。
了解到,法拉利计划在未来五年内推出20款新车型。其中包含多款限量版车型,该公司CEO表示:“宁愿推出更多限量车型,也不追求少数车型的巨大产量。”
